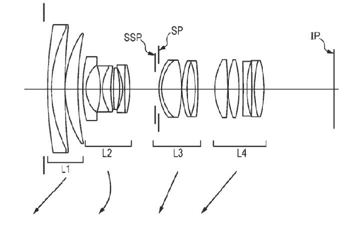
Northlight has uncovered a patent relating to a zoom lens design with two aperture stops.
Within the patent are two different optical formulas, one for an EF 16-35mm f/2.8 and another for an EF 24-70 f/2.8.
According to Northlight:
The aim is to produce a zoom lens with constant minimum aperture, but having small variations in lens aberrations when focusing near/far. The second aperture stop is varied as the lens zooms.
|
When you purchase through links on our site, we may earn an affiliate commission. Here's how it works. |



